
20#精密无缝钢管工艺由以下工序组成:
斜乳穿孔;穿孔毛管缩口;在顶管机中对穿坯毛管进行延伸;在张力减径机中乳成成品管。
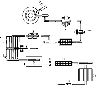
机组的平面布置和环形炉与顶管机之间的简化流程参见图1。斜轧穿孔机与顶管机的联合使用为扩大品种、提高质量创造了条件,即:
管坯单重增大,可以轧制,甚至244.5以下的一般规格的40Cr精密无缝钢管,并具有足够的长度,还可以生产油井管;
机组示意图1一环形炉;2—二辊式钭轧穿孔机;3—缩口机;4一顶管机;5—松棒机;
6—脱棒机;7—切头锯;8—再加热炉;9一除鳞装置;
10—张力减径机;11一冷床;12—冷锯
